Hexagon socket countersunk head screws ISO 10642 M4x16
Hexagon Socket Countersunk Head Screw M4x16 – ISO 10642
The M4x16 hexagon socket countersunk head screw to ISO 10642 (commonly referenced as DIN 7991) is designed for assemblies where a flush, snag-free surface matters. Thanks to its countersunk head, the screw sits neatly in a matching countersink, making it ideal for panels, covers, sliding parts, and clean-looking aluminium profile constructions. Manufactured from high-strength steel (property class 10.9) and zinc-plated for corrosion protection, it delivers reliable clamping force in compact builds.
Why choose a countersunk head?
- Flush finish: the head can sit level with the surface for a clean, professional look
- No protruding head: reduces the risk of catching on cables, clothing, or moving components
- Space-saving: useful where clearance is limited (covers, guards, tight frames)
Typical applications
- Machine covers, panels, and guards
- Aluminium profile constructions where a flat outer surface is required
- Automation, fixtures, and compact mechanical assemblies
- Projects where parts slide over or touch the fastened surface
Key specifications
- Size: M4 × 16 mm (metric thread; length measured overall for countersunk screws)
- Drive: Hex socket (for 2,5 mm Allen key)
- Material: Zinc-plated steel, property class 10.9
- Standard: ISO 10642 / DIN 7991
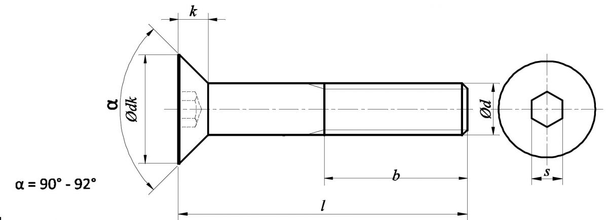
Dimensions (ISO 10642) – M4x16 (per drawing)
- l: 16 mm
- dk max: 8,96 mm
- dk min: 7,53 mm
- k max: 2,48 mm
- s (nom): 2,5 mm
Use with our aluminium T-slot profile connectors
Countersunk screws are especially useful in aluminium profile builds when you want a smooth outside surface—for example on panels, brackets, or plates mounted to a frame. Combine this M4 screw with our profile accessories such as:
- T-nuts / sliding nuts / hammer nuts (depending on your slot system) for fastening into the profile groove
- Plates and flat connectors where a flush head improves clearance and appearance
- Brackets and mounting plates for neat, low-profile assemblies
Quality & availability
We supply high-quality fasteners and aluminium profile accessories and keep a large stock available—so we can support both small DIY orders and large B2B projects with fast, reliable delivery from inventory.
Rendered hexagon socket countersunk head screw M4x16 (ISO 10642 / DIN 7991), zinc-plated steel Hexagon socket countersunk head screw M4x16 (ISO 10642 / DIN 7991) – dimensional drawing (l, dₖ, k, s, α)